1st, They mock you... UPDATE #2 - Article text
A thinking mans tale
LIVESTREAM at 22:00 CET on 18 jan 2026
UPDATE #1 - Chuck Bennett was active yesterday on Physics forum
UPDATE #2 - Article text
CALIFORNIA - WARM FUSION
Courtesy of the author.
Charles Bennett, “Warm Fusion?” “Cold Fusion” Update, No. 4, Sept 1994, pp 12-18.
FUSION FACTS, VOLUME 6 NUMBER 6, DECEMBER 1994
EDITOR’S COMMENTS
Bennett reviews and comments on the rocky road from Fleischmann & Pons to ICCF-3 in this reprint of his speech to a chapter of the California Society of Professional Engineers, in January 1994. In this article, Bennett proposes an alternative theory in which he defines a Q-particle as “a basic cell of our universe.” “Then the Q is seen as a resonance or a grand conjunction of many particles.” Bennett describes an experiment involving the use of deuterated titanium at liquid nitrogen temperatures and high pressures. When the deuterated titanium is suddenly heated, Bennett expects a form of “warm fusion” to occur. [See further information about Bennett on page 10 of this issue.] Bennett has both aerospace and state utility experience and is strongly supportive of further developments in cold fusion.
CALIFORNIA - FUSION OVERKILL
Courtesy of the author
FUSION FACTS, VOLUME 6 NUMBER 6, DECEMBER 1994 pp. 10-11
Charles Bennett, “Fusion Overkill” and “The DOE Strikes Back,”
flyers mailed to many major periodicals, U.S. Representatives and Senators.
OVERVIEW OF FLYERS
“The Lawrence Livermore National Laboratory has announced plans for a 1.8 billion dollar project to produce fusion energy by activating deuterated micro pellets with powerful lasers. I first disclosed a strikingly similar concept called warm fusion to the Raytheon Company on March 24, 1989. After issuing an inventors award to me entitled, Nuclear Fusion Candle, April 1989, Raytheon deeded the rights to me. I filed a patent with the U.S. Patent Department on May 10, 1990, entitled Lukewarm Fusion. The patent department did not accept it because they said it was unworkable. Now the Department of Energy has decided to test their own version at a much greater cost!
“I publicly disclosed the concept in a speech to the Peninsula Chapter of the California Society of Professional Engineers at the January 27, 1994 meeting. In the speech, I described a warm fusion furnace with micro pellets of metal deuterated under cryogenic conditions as the fuel. The metal lattice holds the deuterium for ignition without the need for powerful magnetic fields. The ongoing heat from the furnace allows continued self-sustained fusion so that the enormously high amount of powerful lasers proposed by LLNL for the initial ignition mechanism is not needed! This is overkill!!!
“The opening remarks of the speech state: “Warm fusion is a hybrid between cold fusion and hot fusion. The temperatures of operation are much higher than the laboratory room temperatures of many current experiments of the so called “cold fusion” but nowhere near the extremely hot temperatures and high pressures of the hydrogen bomb.”…
“The Department of Energy has responded to my proposal for an experiment to test the concept of “warm fusion.” A rejection was expected but not one that was so arrogant, presumptuous, and reactionary. The following is an analysis sent by the Division of Advanced Energy Projects, Office of Basic Energy Sciences:
“The proposal includes arguments that rely on a number of un-verified physical concepts. The notion that heating a cold fusion device leads to a new type of mass-energy conversion has never been shown.. The existence of the Q particle and a different medium besides the space-time continuum for physical processes are unproven concepts in physics. The experiment proposed is very large in scale and not justifiable in the absence of previous experimental proof of an effect. Also references to work involving hydrogen in nickel are not cited or discussed in detail. In summary, the proposal involves a number of highly speculative assumptions. The failure of any one of these assumptions destroys the overall concept.
“The principal investigator is trained as a mechanical engineer. There is no evidence of training, experience, or publications in the areas of elementary particle physics, plasma fusion physics, or relativity and cosmology. All these fields are referenced in the proposal.
“Finally, the budget of $1.65M over two years is beyond the scope of projects supported by the Division of Advanced Energy Projects.”
“The philosophy contained in the above statement suggests that new thinking is not allowed. The analysis also demands that required credentials be in disciplines that have denounced new innovations such as cold and warm fusion. Furthermore, the DOE refuses to fund cold/warm fusion so they can perpetuate claims of “no proof”. This is a catch 22.
“This is an example of one of many reasons that the American public is so mad at the government. First the bureaucracies thrash a new idea with an unsubstantiated chain reaction of frivolous attacks. Then they revamp the idea to make an overblown expensive version of their own.”
Chuck Bennett, Oct.&Nov. 1994, Sacramento, California (916-368-6859)
EDITOR’S COMMENTS
Charles E. Bennett is to be commended for his “next day” idea disclosure to his employer (Raytheon) on March 24, 1989. His seven one-page articles that he has written about cold and “warm” fusion indicate that he is a champion for new enhanced energy systems. We do not have access to his proposal to DOE. However, it must be remembered that the worst pitfall for a bureaucrat is to make an error in judgement that can be attributed to that bureaucrat. Bureaucrats do not hold offices to solve problems. If an office is set up to solve a problem, a solution might mean an end to such office. Therefore, we are not surprised at the comments Bennett received. He would probably get similar comments from a peer-reviewer. Interesting, the person writing for DOE shows abysmal lack of contact with the literature when he states, “The notion that heating a cold fusion device lead to a new type of mass-energy conversion has never been shown.”
Fleischmann and Pons have carefully demonstrated the need for an increase in energy to trigger energetic cold fusion. However, Bennett needs to be coached on how to write a proposal to a government agency. You do not allude to “Q particles” or to some different medium for physical processes. One must only “ever-so-gently” propose to extend the current knowledge, if you want government or academic support. New science, however accurate, is not popular in either government or university laboratories.
Bennett’s second mistake was to propose himself as the principal investigator. In the government (and academia) world, where Ph.D.s proliferate, one must have a highly regarded Ph.D. to be the principal investigator. Lesser qualifications are not sufficient, unless you have strong political clout with the agency to which the request is submitted.
For a positive contribution to Charles Bennett, he is strongly advised to take his case to the business and financial world. The government, especially the Department of Energy, is not going to fund a project that, if successful, makes it evident that they have been mis-spending billions of dollars in the pursuit of various types of hot fusion. We suggest that you define a small, but carefully defined experiment, that can be completed with a few thousand dollars. Many of the government laboratories will now cooperate with industry for well-defined experiments that use existing government lab equipment. Fusion Facts would be willing to publish such a proposal and maybe even suggest some willing Ph.D. partners.
Bennett is certainly correct about the official action that denies funds and then continues to claim “no proof.” However, Japan, with its limited energy resources and a culture that recognises sources of energy within and about us, is not so dogmatic. So what if Japan becomes the manufacturer and distributor of new cold fusion energy sources? Who are they going to demote at DOE? Don’t give up, Charles. A few skirmishes may be lost, but the battle will be won!
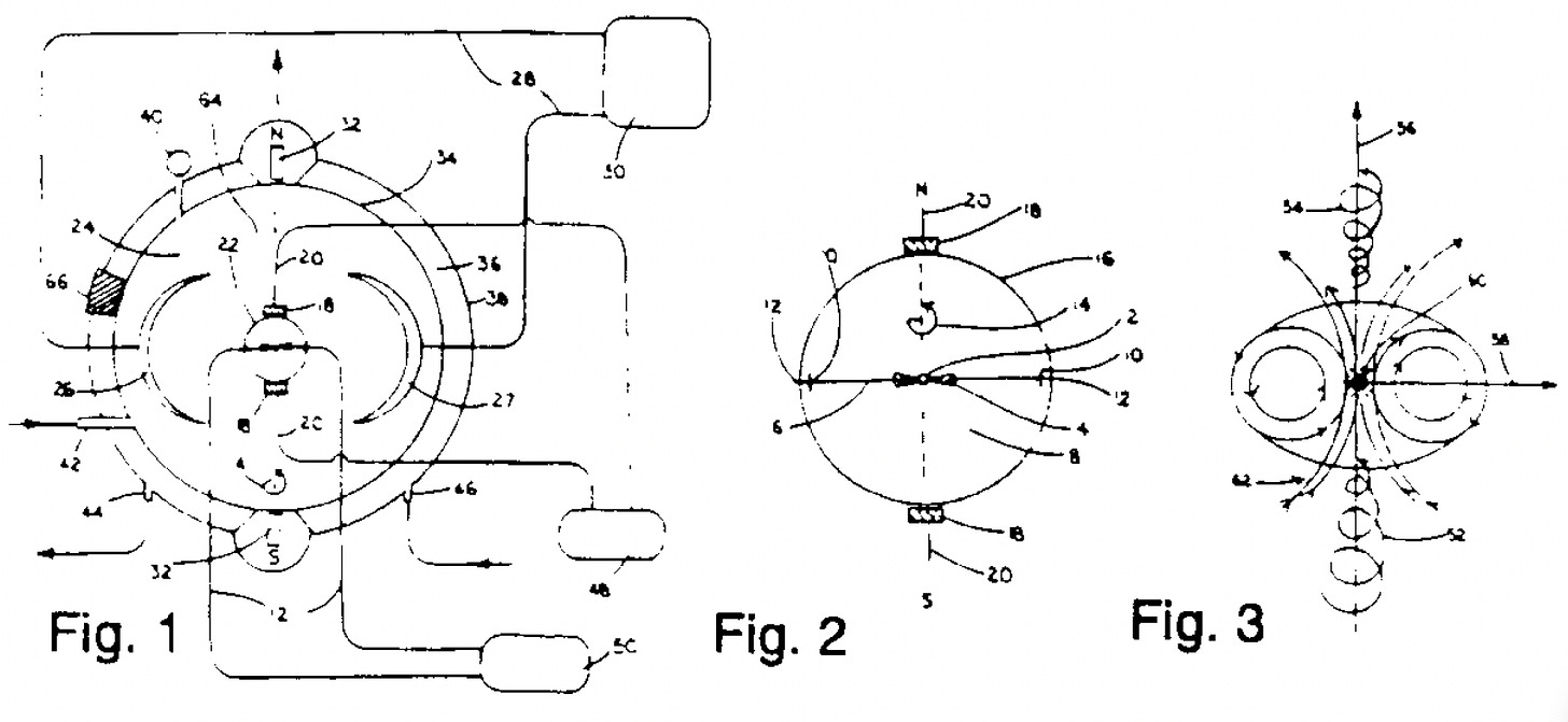
BUCKY FUSION?
Charles Bennett (The Fullerene Fusion Group), “Fullerene Fusion Electrodynamic Generator,” Patent application. Courtesy of the author.
[More details and better images here from T. Matsumoto archive]
AUTHOR’S ABSTRACT
This invention relates to the production of electricity and heat energy by means of an electrodynamic fusion plasma utilising the material Buckminsterfullerene. Co-inventor Warren L. Cooley worked from a theoretical basis established by the late Buckminster Fuller and experimented with the concept that energy can be harvested to do useful work from shape, and that certain shapes are inherently energetic. The invention herein described demonstrates that shrinking these characteristics and principles to the scale inherent in naturally occurring structures, i.e., carbon fullerenes, results in a catalyst and means of confinement for a fusion reaction. Accordingly, several objects and advantages flow from the invention herein described. The elements of the invention are combined in a manner that could be described as emulating, to some extent, the natural stellar fusion processes that exist in the universe. A primary element of the invention is, in fact, a naturally occurring phenomena of the universe, i.e., Carbon60. Another advantage of the invention is that the raw materials necessary for the production of energy in the invention are abundant and cheap. They also are converted to energy by a means that produces no environmentally harmful side effects or by-products.
Fig. 1 is a cross sectional diagram of the essential elements comprising the apparatus of the invention, a fullerene fusion electrodynamic generator.
Fig. 2 is a cross-sectional diagram of a fullerene fusion fuel capsule viewed perpendicular to the magnetic axis running through the concentric centre of the fuel cell when positioned for ignition.
Fig. 3 is a cross sectional view of a plasmoid showing the axis of the magnetic field and the axis of the electric field with streamlines showing the plasma vortex flow patterns.
A fullerene fusion electrodynamic generator designed to produce a direct conversion of fusion energy to electricity and excess heat energy of sufficient temperature to be useful for the production of steam. The carbon sublimes and converts fusion energy release into a mitigated self-holding toroid of supercharged plasma. This fusion-powered combined cycle co-generation unit can be scaled to any level from very small to a central power plant producing multiple megawatts of power.
The generator will burn a fuel cell (22) comprising a seed catalyst (4) of ND2@C60, endohedrally deuterated fullerene molecules, formed in a donut shape (4) around an air bubble (2) and suspended by conductive filament (6) and encapsulated by a shell (16) in a surrounding solution of LiD+D2O (8). The fuel cell (22) is loaded into a plasma burn chamber (64) that is configured with the axis of a magnetic field (14) is ignited by a phased resonance of electromagnetic waves and acoustic waves to produce a toroid plasmoid that spins around the axis of the generators magnetic field (14).
The seed catalyst (4) of deuterated fullerene molecules allows the fusion plasma to take an electrodynamic shape that holds itself together around a spinning vortex (60). This vortex action not only provides a means for pulling fuel into a fusion region but also eliminates the requirement for large power consuming magnetic fields of containment, as typical of current hot fusion experimental protocol.
[NOTE: At press time, we received information that the patent application had been bucked up to the DOE and DOD for classification review. -Ed]
A QUANTISED AETHER
Chuck Bennett (Sacramento, CA)
New Energy News Nov. 1996, P7
The recent debate about cold fusion has focused on the resurrection of a luminiferous medium [aether] as a mechanism to explain “over-unity” production of excess energy in hydrogenated metal lattices and other new energy phenomena. The debate about the existence of such a medium goes back to just before the turn of the century when Michelson and Morley found none. In 1905, Albert Einstein cast the medium aside as “superfluous” in a paper entitled, “On the Electrodynamics of Moving Bodies.” A mathematical medium was introduced in later years based on a 4-tensor Riemannian geometry. The result is quite complicated and is proclaimed to be understood by only a few individuals.
A more practical approach to the resurrection of the medium is proposed herein, based on quantization of the medium. A spectrum of fundamental particles coined Q particles, short for quanta, creates the medium for larger particles such as the electron and proton. The flow of Q particles results in a toroidal vortex pattern that comprises larger particles.
The mass of an individual particle is determined by the relation, mQ_c^2 =kT, where mQ is the mass of the Q particle, c is the speed of light, k is Boltzamnn’s constant, and T is the temperature in absolute degrees. This relation yields a spectrum of fundamental particles starting on the order of a million times lighter than the electron. The wavelength, 8, of a Q particle is determined by the expression, mQ_c8 =h, where h is Planck’s constant. The simultaneous requirement of the two conditions, mQ_c^2 = kT and mQ_c8 =h, causes the mass to get larger as the temperature gets higher and the size, as represented by the wavelength, to get smaller as the temperature gets higher.
Hot spots are more dense than cooler spots. Hot spots radiate more as the size gets smaller. Therefore, a natural contraction is associated with smaller, denser regions of matter. As these regions radiate with more energy, the contraction of matter must occur as an automatic consequence. Gravitation is the result of these simultaneous conditions.
Quantization of the medium answers many theoretical problems encountered since Michelson and Morley. The dichotomy between aether drag and stellar aberration is nicely explained by a quantized medium. It is surprising that the quanta approach has not been applied to the luminiferous aether given the success of quantum mechanics.
Einstein did not win the Noble prize for the introduction of special relativity, but rather for the photo-electric effect in 1921. The photo-electric effect is purely a quantum mechanics principle.
EINSTEIN’S MASS DILATION AS AETHER DRAG
Chuck Bennett
New Energy News April 1997, P7
Objects approaching the speed of light undergo mass increase according to Einstein’s relativistic mass dilation equation. Has anyone ever wondered where the extra mass comes from?
In 1905, Einstein derived the formula for mass energy equivalence as an afterthought to his publication on special relativity, “On the Electrodynamics of Moving Bodies” [1,2]. Special relativity is based on two principles that are “only apparently irreconcilable.” One, that the speed of light is measured the same in all reference frames of platforms moving relative to each other; and two, the fundamental laws of physics must be upheld. It is a common misconception that the fundamental laws are altered, but they are not. It is the measurement parameters that undergo changes in order to facilitate Einstein’s two seemingly dichotomous postulates. Time, forward dimension, and mass change according to the Lorentz formulas. Einstein reasoned that if the law of conservation of energy is to be preserved, then an increase in mass is manifested as excess energy [2]. But what about the conservation of mass? The answer to this question in relation to the postulate of a new quantized aether follows.
Einstein reasoned that rest mass, m0, must have energy, m_0c^2, and we later found out that this was true from the initial discovery of isotopic mass change in beta decay all the way to modern mass energy changes in fission and fusion. More recently, we have seen the discovery of low temperature fusion and transmutation with subtle mass-energy release within the lattices and electrolytes of new hydrogen energy systems.
In a previous article [3], a sea of particles on the order of a million times lighter than the electron is proposed as a “quantized aether” in which aether drag is re-introduced as a plausible explanation for the Michelson and Morley null result. All subatomic and atomic particles are comprised of these small particles and the particles create the aether. Particles do not pass through an aether medium and the aether medium is not separate from particles. In other words, particles and the aether are one entity.
Thus, in conclusion, the postulate emerges that actual mass transfer is responsible for the relativistic mass change. Objects at near luminal speed literally scoop up additional mass from quantized aether. The law of conservation of mass is upheld. The fundamental particle introduced in reference [3] is the element for a quantized aether and acts as an agent for mass transfer in relativistic mass changes. In addition, the conservation of particulate angular momentum holds for the smallest particle of the aether. This particle can be taken to be the infinitesimal limit as the fundamental element of the aether approaches zero. These premises establish the seed of vortical motion for the quantized aether.
References:
A. Einstein, “On the Electrodynamics of Moving Bodies,” Annalen Derphysic, vol 17, no 5, 26 Sept. 1905, pp. 891-921.
2. A. Einstein, “Does the Inertia of a Body Depend Upon its Energy?” Annalen Derphysic, vol 18, no 3, 21 Nov. 1905, pp. 639-641.
C. Bennett, “A Quantized Æther,” New Energy News, vol 4, no 7, Nov. 1996, p. 7
EINSTEIN WOULD HAVE CALLED IT “COLD FISSION”
Chuck Bennett
New Energy News May 1997, P7
In a newly released article by Moon [1], the author introduces the label of “cold fission” to describe the transmutation reactions associated with recent “table-top” experiments manifesting mass-energy release. Einstein would have welcomed this discovery as something different and better, because to the average person he is credited with a naive transition from E = mc2 to the atom bomb. And he certainly was a compassionate pacifist who would rather see his postulate of mass-energy harnessed in a small table-top environment that is useful rather than an insidious device that can flash a city to oblivion in a split second.
Einstein [among others] reasoned that rest mass, m0, must have energy, m0c2. This was later proven to be true from the initial discovery of isotopic mass change in beta decay all the way to modern mass-energy changes in fission and fusion. More recently, we have seen the discovery of how low temperature fusion and transmutation releases subtle mass-energy within the lattices and electrolytes of new hydrogen energy systems. Some of these transmutation reactions have the characteristics of traditional fission, i.e., a splitting of atoms to lower atomic numbers having an overall loss in mass, and the subsequent release of excess mass-energy to account for the loss in mass.
The sequential triad of energetic triggers consisting of a conventional activation such as chemical or electromagnetic, that triggers a fission reaction that, in turn, triggers a fusion reaction is the exact formula for the hydrogen bomb. But to have this reduced to a micro-scale that can be controlled in the laboratory to produce useful energy is a major step in the goal to safely harness the use of mass-energy. And the resulting fusions do not necessarily have to be d-d type fusion of pairs of identical isotopes. We have seen the release of energy in fusions of protons colliding into larger nuclei that produce benign isotopes that also result in the release of excess energy to account for an overall loss of mass of the sum of the constituents [e.g., Neal-Gleeson Process].
Thus in summary, all types of known and newly discovered mass-energy reactions are emerging from low temperature table-top experiments, including a new type of fusion consisting of collisions with protons or deuterium ions into larger atoms in lattices and/or electrolytes. Then we have a whole new system that is not in any textbook anywhere. This is why the application of known traditional fusion systems fails to explain the results of table-top mass-energy experiments in terms of the “Coulomb barrier” postulate.
New theories, new aethers, and new particles [2-12] have established a new science that goes back to where Einstein left off following the publication of groundbreaking and historical articles in 1905 [13,14]. In the interest of peace and “infinite energy,” Einstein would have wanted it this way.
References:
D. Moon, “Excess Heat Versus Transmutations,” to be published, March 1997.
D. Moon, “Gentlemen, Start Your Bubbles!” Infinite Energy, vol 3, no 11, March 1997.
M. Twain, “Aether Workshop,” preparation for Workshop, (to be held at Stanford University, July 18-20, 1997). Plasmatronix, Intl., P.O. Box E, Menlo Park, CA 94026, Phone 415-569-3299.
K. Shoulders, S. Shoulders, “Observations on the Role of Charge Clusters in Nuclear Cluster Reactions,” J. New Energy, vol 1, no 3, Fall 1996.
S-X Jin, H. Fox, “Characteristics of High-Density Charge Clusters: A Theoretical Model,” J. New Energy, vol 1, no 4, Winter 1996.
H. Fox, R. Bass, S-X Jin, “Plasma-Injected Transmutation,” J. New Energy, vol 1, no 3, Fall 1996, pp 222-230.
R. Bass, R. Neal, S. Gleeson, H. Fox, “Electro-Nuclear Transmutations: Low Energy Nuclear Reactions in an Electrolytic Cell,” J. New Energy, vol 1, no 3, Fall 1996.
C. Bennett, “Tiny Bubbles,” Infinite Energy, vol 2, no 7, March-April 1996, p 7.
C. Bennett et al., “The Connection Between the Particle and the Wave,” Cold Fusion, #18, August 1996, pp 26-29.
C. Bennett, “An Electrodynamic Theory of Inertia and Gravitation,” Cold Fusion, issue 19, October 1996, p 36.
C. Bennett, “A Quantized AEther,” New Energy News, Nov. 1996, vol 4, no 7, p 7.
C. Bennett, “Einstein’s Mass Dilation as AEther Drag,” to be published, March 1997.
A. Einstein, “On the Electrodynamics of Moving Bodies,” Annafen Derphysic, vol 17, no 5, September 26, 1905, pp 891-921.
A. Einstein, “Does the Inertia of a Body Depend Upon its Energy?” Annafen Derphysic, vol 18, no 3, November 21, 1905, pp 639-641.
LIGHT IS THE GHOST OF MASS
Chuck Bennett
New Energy News July 1997, P13
This decade has seen an upsurge in the interest to resurrect a workable æther in order to provide a practical medium for the analysis of newly discovered phenomena such as over unity hydrogen energy production, the manipulation of gravitation and over unity electric motors [1-5]. An æther concept based on a permeable medium whereby matter and light waves were separate from each other was squashed as “superfluous” at the turn of the century [6]. Therefore the new æther must provide an answer to the obstacles encountered, such as manifested by water filled telescopes, stellar aberration and the Michelson and Morley null result.
One approach to this overall goal is to invoke the property of quantization (or discrete particles) to the fundamental structure of the æther [7]. In a recent interview with Arthur C. Clarke, the power available from empty space in terms of “zeropoint energy” is described by the late Nobel laureate, Julian Schwinger, as the tapping of “quantum fluctuations” [8]. The quantization of the æther may be explained by the view that the æther consists of a sea of particles that are on the order of a million times lighter than the electron. The mass range of the particles is in the range for the spectrum of all light photons. Therefore, the æther may simply consist of a medium of “condensed photons.” Then light can be viewed as evaporated mass and mass as condensed light. Steven Rado has characterised this approach in terms of an ideal gas [9]. As far as knowing what is in between the particles, it doesn’t matter. And that statement is to be taken literally because there may not be any definable matter between the particles, just uncondensed primordial gradient fields or vacuum.
A theory for gravitation has been presented based on the approach that gravity is the “æther wind” [10]. Gravity is related to mass and mass is related to light energy via the equation, E = mc2 [11-12]. Gravity can be modelled as a mass gradient and is shown to be inversely proportional to the emanation of light energy as a light gradient by the proportionality constant, -c2 . In other words, light is basically a “hole” in the quantized æther that travels as a perturbation opposite the knocking action of the particles that comprise the medium. This is why light can be thought of as “the ghost of mass.” This phenomenon is emphasised in two well known actions. When a positron and electron meet, the mass does not necessarily get “annihilated,” it simply turns to an equivalent amount of light energy in the form of two powerful (-photons traveling in opposite directions with opposite spins. In another example, when an electron hops from a higher orbit to a lower orbit, a quantum of light energy as a photon is released (as exemplified by the Bohr hydrogen atom model) in a spectrum of discrete quantum energies. The mass loss of the electron is negligible, but the mass and energy of the photon is described by the relations, E = mpc2 = hf, and mpc8 = h, where mp is the equivalent mass of the photon, h is Planck’s constant, f is the frequency, 8 is the wavelength, and 8 is related to f by c = 8f. Photon emission is a good example of where mass (the electron ) goes in and light (the photon) goes out. [See Anastovski & Bennett’s book Quantum Mass Theory Compatible with Quantum Field Theory. – Ed.]
A quantized æther allows general relativity to be reduced to the mechanics of a real and workable medium rather than an abstract notion that space is curved described by a stream of ambiguous mathematics. Real models of physics have enabled the engineering of flight and hopefully can be extended to the speed-of light realm to enable luminal or super luminal space flight.
The three so called proofs of general relativity may be explained by a quantized æther. Gravitation may be the process where the particles that comprise the particle sea are accelerated inward to the centre of a mass. Therefore, light would be slowed going against gravity and accelerated towards gravity. This concept has been shown to be true in experiments where the frequency of photons is shifted to red or blue depending on the direction in the earth’s gravitational field. Light from distant stars gets bent towards the sun as viewed from the earth by a very subtle amount. Gravity as the æther wind explains this phenomena. And finally, if gravitation is limited by the tangential speed of the underlying particle of the æther, analogous to sound in gas molecules, then very subtle effects would be observed in rare occasions such as the delay in the orb of the perihelion of the planet Mercury as a deviation from calculations based on Newtonian gravitation.
References:
H. Fox, “The Nature of the Æther,” New Energy News, vol 4, no 12, April 1997, p 9.
M. Twain, “Æther Workshop,” Preparation for Workshop, (to be held at Stanford Univ. July 18-20, 1997). Plasmatronix, Intl., P.O. Box E, Menlo Park, CA 94026, Phone 415-569-3299.
H. Fox, “So You Want to be Involved in New Energy?” New Energy News, vol 4, no 12, April 1997, pp 2-3.
M.G. Millis, “NASA Preparing for the Future,” New Energy News, vol 4, no 12, April 1997, pp 6-7.
H. Aspden, “The Motors that Keep Us Alive,” New Energy News, vol 4, no 12, April 1997, pp 1-2.
A. Einstein, “On the Electrodynamics of Moving Bodies,” Annalen der Physic, vol 17, no 5, September 26, 1905, pp 891-921.
C. Bennett, “A Quantized Æther,” New Energy News, vol 4, no 7, November 1996, p 7.
F. Guteri, “An Odyssey of Sorts,” Discover, May 1997, pp 68-69.
S. Rado, Aethro-Kinematics, Aethron Publishing Co., Los Angeles, 1994.
C. Bennett, “Gravity as the Æther Wind,” April 1997.
C. Bennett, “Einstein’s Mass Dilation as Æther Drag,” New Energy News, vol 4, no 12, April 1997, p 7.
A. Einstein, “Does the Inertia of a Body Depend Upon its Energy?” Annalen Derphysic, vol 18, no 3, November 21, 1905, pp 639-641.
THE DYNAMICS OF NEUTRINOS
By Chuck Bennett
President, Space Ventures, Sacramento, CA
New Energy News May 1999, pp 7-8.
This monograph is a continuation in a series of articles [1-4] dedicated to the creation of a unified theory that encompasses the known forces of nature. A postulate has been established that neutrinos possessing mass pervade the universe thus creating a “luminiferous medium.” A foundation for the dynamics of the neutrino medium is presented herein. The mass energy equation can be interpreted as a statement that mass is comprised of a condensed neutrino group. Therefore, energy propagation as evaporated mass can be re-written in terms of a differential rate. The equation, E = mc^2, is differentiated with respect to radial distance, r. The rate of electromagnetic energy propagation outward is inversely proportional to the rate of mass gradient inward. The proportionality constant is the speed of light squared. Thus the gravitation equation is expressed by the following equation:
dE/dr = - dm/dr c^2
The above expression summarises how gravitation is caused by electromagnetic gradients radiating outward from a large body. Gravity and light energy are one and the same by an inverse relation and a proportionality constant, c^2. As light energy radiates outward, a bias in the mass-energy field is established across all spectrums of light energy. The effect is amplified by the power of mass energy. The gravitation effect is subtle, but very little is needed to move mass when the amplification factor is c^2. Note that the gradient, dE/dr, has the units of force due to the definition of energy as force times distance. Also note that dm/dr is a mass gradient and this describes the gravitational field.
Then gravity may be described as “an æther wind of neutrinos.” This establishes gravitation as an ongoing and continuous condensation of the neutrino medium. Michelson and Morley would have demonstrated a wavelength shift if one of the arms of the interferometer had been pointed straight up. And this has indeed been proven in terms of the so called red or blue shift of photons traveling towards or away from the earth’s centre along a gravitational vector. Einstein’s equivalence principle is another statement that gravity is the “neutrino æther wind.” Free fall is more inertial than fixed at the earth’s surface because in free fall, objects appear to be weightless. An accelerometer that has not been reset to zero at the fixed state (a pure accelerometer) will read zero in free fall and will read one g fixed at the earth’s surface. This means that objects fixed at the surface of the earth are equivalent to having an acceleration of one g and when in free fall, there are no compressive forces. This is typically explained by the so called body force of gravity that acts on each and every point with equal force so that in free fall there is no registration of compressive force.
In free fall, there is no force because free fall is the process of the neutrino æther accelerating inward at one g. In other words, the neutrino æther is inertial space and to be fixed against an acceleration of the neutrino æther, is to be fixed against the acceleration of inertial space. Spin arrests the action of gravity and causes mass to stabilise in an orbit or an action that resembles gravitational repulsion. Since heat is a form of spinning mass, the negation of gravity may be possible with a contained thermal gradient that has a very large magnitude of gradient and is opposite the gravitational field.
The above approach introduces the view of a “Bernoulli effect” on all types of fundamental particles. When a particle flows past another particle in a close tangential flyby, a void is created. Then the first particle begins to fill the void. The principle of void filling is a fundamental law of nature. This is why the vortex feeds on itself to get stronger and stronger with increasing tangential velocity towards the centre until a threshold is reached and matter or neutrino æther goes out through the top and/or bottom of the vortex centre “eye.”
But this is the Bernoulli “void filling” principle in action. The inward acceleration of inertial space is a secondary outcome of the flyby tangential effect that manifests as gravity. This provides a view that does not have to treat the neutrino æther as having finite compressibility. The neutrino æther conforms to fit the manifestation of the natural realm in a way that explains the effects observed.
Further reasoning can be applied to explain the other 3 forces of nature. The various forces are simply due to the Bernoulli flyby void filling effect at different proximities with different constants of magnitude. Gravitation is due to the tangential action of electromagnetic gradients that permeate all bodies and pull items inward described fundamentally by Newton’s laws.
The strong force is a similar action at a hyper magnified level. The electron is a spherical vortex that is tumbling through space. Attraction cannot be distinguished from repulsion because the tumbling careening action of the flyby will look like a repulsion when two electrons attract each other and result in a “powered” flyby. A positron and electron attract because a positron is a reverse flow spherical vortex so there is always superposition of attraction for all points in the merger of the two flow fields.
The proton attracts an electron because the proton is more stationary and stable and can anchor the Bernoulli void filling effect to cause the electron to have a stable orbit. The other forces of nature are merely the same effect on a different scaling basis. This gives a universal theory born from the neutrino æther. Classical mechanics with waves, forces, collisions, etc., are outcomes of the basic action. Waves result when streams of particles group together and travel according to the motion template of a helical spiral pattern that links the action of the particle to a sinusoidal wave as seen from the side view. Thus the neutrino æther possesses a high degree of orthogonality.
In conclusion, the neutrino æther will conform to make all known phenomena exist in a way that provides the laws of nature. Many new variations of a resurrected æther have recently been proposed. The concepts presented herein are just another addition to the ongoing effort to reestablish a workable æther with the neutrino of finite mass as the basic building block of the æther.
Previous Articles:
C. Bennett, “The Luminiferous Medium as a Sea of Neutrinos,” J. New Energy, Summer/Fall, 1998, vol 3., No. 2/3, pp. 30-32.
C. Bennett, “A Quantized Æther”, New Energy News, November, 1996, vol 4, no 7, p.7.
C. Bennett, “Einstein’s Mass Dilation as Æther Drag”, J. New Energy, Spring, 1997, vol 2, no I, pp. 74-76.
C. Bennett, “Light is the Ghost of Mass,” New Energy News, Vol. 5, No. 2, June 1997, pp. 8-9.



Hey Bob - Have you seen this interview and open letter?
Seeking the whole truth of September 11, 2001
An open letter to the US Government & the 9/11 truth movement from 9/11 Jersey Girl, Patricia Casazza - January 2026
Read more: https://911revision.substack.com/p/seeking-the-whole-truth-of-september
I always like to pit in my head, as a thought experiment, the MFMP against the rise of Elon and ask: wtf? Seeing a New Dawn of an Old Age, I know where I stand. Thanks for this Bob. Stellar work.